• Home
  • Applications
    • Lift Axle Air Valves
    • Axle Slide Pin Release Air Control
    • Tailgate Latching Air Control and Actuation
    • Air Suspension Dump Control
  • Products
    • Valves
    • Enclosures
    • Cylinders
  • Technical Support
  • About Us
  • News
  • Where to Buy
  • Contact Us

Select Your Own Product

Start your search anywhere. Click the button to ‘Find Product’ at any point.

Select Your Market Segment

Select Your Application

Select Your Product Type

Valve

Cylinder

Gauge

Valve Attributes

Number of ports

Number of Ports refers to the number of working ports. (does not include reset, air pilot or external pilot ports)

Number of Positions

Number of positions for the valve operators

Port Size

Thread size for the main working ports. Often the pilot port (if equipped) is smaller than the working port. Use size of the majority of ports if there is variation across the valve.

Type of Operator 12

Operator on the 12 side of the valve. 12 applies to both a 3 port and 5 port valve.

Type of Operator 14 / 32

"Operator on the 14 (5 port) or 32 (3 port) side of the valve."

Pilot Source

Designates where AIR pilot pressure is supplied from either internally (typically the supply, Port 1) or externally. External often required when valve has multiple sources of pressure or common exhaust configuration. (Only applies to Solenoid Operated valves)

Normally Open Port

Ports that are connected when valve in its default state. Spring return operator will often define the default state. Manual Push-Pull operator is typically default = KNOB IN.

Special Feature

"Any EXTRA Components or Features included in the package. Sometimes this is fittings, labels, fasteners, gauge port, regulator, etc.
(Can be combined for example:
Inline Filter , Pressure Protection Valve and quick Release kit = IPQ
Fittings + hardware (moutning) = FH)"
More Attribute Options

Cylinder Attributes

Bore Diameter

Cylinder Diameter (inches)

Stroke

Rod displacement through full stroke (inches)

Rod Extension

Effective length of rod that extends past the end cap. Rod with thread = end of rod. Rod with clevis bore = length from end cap face to CL of clevis bore.

Rod Diameter

Diameter of the Rod (inches)
More Attribute Options

Product Result:

No Filters Selected.

Product Image

B2400-889-BLK

VALVE, .25 NPT, 3-2, PUSH-PULL, REMOTE RESET

Go To Product
Product Image

B2400-B81

VALVE, PRESSURE PROTECTION, .38 NPT

Go To Product
Product Image

B2400-B83

VALVE, QUICK RELEASE, .38 NPT

Go To Product
Product Image

B2400-B84

VALVE, PILOT OPERATED 3-WAY

Go To Product
Product Image

K1100-344

VALVE, PILOT OPERATED 3-WAY WITH FITTINGS

Go To Product
Product Image

B2400-B80

VALVE, PRESSURE PROTECTION, .25 NPT

Go To Product
Product Image

B2400-B82

VALVE, QUICK RELEASE, .25 NPT

Go To Product
Product Image

V251S20021-BLK

VALVE, .25 NPT, 3-2, PUSH-PULL WITH DETENT - VENTED CAP

Go To Product
Product Image

V250030512-BLK

VALVE, .25 NPT, 5-2, AIR PILOT-SPRING RETURN

Go To Product
Product Image

V380E90512-DAL-BLK

VALVE, .38 NPT, 5-2, PUSH-PULL AND SOLENOID COMBINATION -SPRING RETURN, 12DC, MANUAL OVRD WITH EXTERNAL PILOT

Go To Product
Product Image

V1866N0512-DAL-BLK

VALVE, .125 NPT, 5-2, SMALL EXHAUST, SOLENOID - SPRING RETURN, 12DC

Go To Product
Product Image

V2506N0512-DAL-BLK

VALVE, .25 NPT, 5-2, SOLENOID - SPRING RETURN, 12DC

Go To Product
Product Image

V254010421-K12-BLK

VALVE, .25 NPT, 3-2, PUSH-PULL-AIR PILOT

Go To Product
Product Image

B3000-424

CYLINDER, 2.0 X 3.0 STROKE, SPRING EXT., DOUBLE ACTING

Go To Product
Product Image

B3000-425

CYLINDER, 2.50 X 4.13 STROKE, DOUBLE ACTING

Go To Product
Product Image

B3000-259-H-5

CYLINDER, TAIL-A-GATER - 5 INCH ROD EXT

Go To Product
Product Image

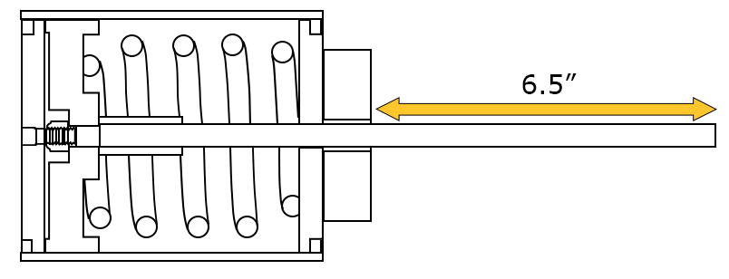
B3000-259-H-6.5

CYLINDER, TAIL-A-GATER - 6.5 INCH ROD EXT

Go To Product
Product Image

V380030512-BLK

VALVE, .38 NPT, 5-2, AIR PILOT-SPRING RETURN

Go To Product
Product Image

B2400-B38

VALVE, .25 NPT, 5-2, VENTED CAP-PUSH-PULL WITH DETENT + LABELS

Go To Product
Product Image

B2400-B39

VALVE, .25 NPT, 5-3, VENTED CAP-PUSH-PULL WITH DETENT + LABEL

Go To Product
Product Image

B2400-B40

VALVE, .38 NPT, 5-2, VENTED CAP-PUSH-PULL WITH DETENT + LABELS

Go To Product
Product Image

B2400-B41

VALVE, .25 NPT, 5-2, SOLENOID - SPRING RETURN, 12DC + EXH MUFFLERS

Go To Product
Product Image

V2506R0514-DAL-BLK

VALVE, .25 NPT, 5-2, SOLENOID - SPRING RETURN, 12DC

Go To Product
Product Image

V2516N0523-DAL-BLK

VALVE, .25 NPT, 3-2, SOLENOID - SPRING RETURN, 12DC

Go To Product
Product Image

V380RE0514-DAL-BLK

VALVE, .38 NPT, 5-2, SOLENOID - SPRING RETURN, 12DC

Go To Product
Product Image

V380110114-DAL-BLK

VALVE, .38 NPT, 5-2, SOLENOID-PUSH-PULL, 12DC

Go To Product
Product Image

V2516R0523-DAL-BLK

VALVE, .25 NPT, 3-2, SOLENOID - SPRING RETURN, 12DC

Go To Product
Product Image

B2400-B43

VALVE, .25 NPT, 3-2, PUSH-PULL-VENTED CAP + DUMP LABEL

Go To Product
Product Image

B2400-B03

CONTROL, VALVE ASSY, (NSI) LIFT AXLE KIT

Go To Product
Product Image

B2400-B04

CONTROL, VALVE ASSY, (SSI) LIFT AXLE KIT

Go To Product
Product Image

B2400-B85

VALVE, CHECK, .25 NPT

Go To Product
Product Image

K1100-331

BALL VALVE, 3 WAY, ½” PANEL MOUNT WITH PATCHED SCREW

Go To Product
Product Image

B2400-B54

CONTROL, LIFT AXLE, X OVER L TO R, REG RIDE

Go To Product
Product Image

V38505E912-DAL-BLK

VALVE, .38 NPT, 5-2, LONG BODY, PUSH-PULL SOLENOID COMBINATION - SPRING RETURN, MANUAL OVRD WITH EXTERNAL PILOT

Go To Product
Product Image

V385050912-DAL-BLK

VALVE, .38 NPT, 5-2, LONG BODY, PUSH-PULL AND SOLENOID COMBINATION-SPRING RETURN, MANUAL OVRD WITH INTERNAL PILOT

Go To Product
Product Image

B2400-B63

VALVE, .25 NPT, ASSY CARTRIDGE SLIDE PIN WITH REMOTE RESET WITH FITTINGS

Go To Product
Product Image

B2400-B48

VALVE, .25 NPT, 3 WAY PILOT PUSH-PULL WITH REMOTE RESET

Go To Product
Product Image

B2400-B53

CONTROL, AXLE, X OVER L TO R, NO REG

Go To Product
Product Image

V38104S221-K11-BLK

VALVE, .38 NPT, 3-2, AIR PILOT-PUSH-PULL WITH DETENT

Go To Product
Product Image

V250110114-DAL-BLK

VALVE, .25 NPT, 5-2, SOLENOID-PUSH-PULL, 12DC

Go To Product
Product Image

K1100-353

GAUGE, SILICONE FILLED, .125 NPT, 2.00 DIAL, 0-160 PSI, AIRMAN

Go To Product
Product Image

V250050312-BLK

VALVE, .25 NPT, 5-2, SPRING RETURN-AIR PILOT

Go To Product
Product Image

K1100-330

BALL VALVE, 3 WAY, 1” PANEL MOUNT WITH PATCHED SCREW

Go To Product
Product Image

B2400-B73

.25 NPT, 5-2, VENTED CAP-PUSH-PULL WITH DETENT WITH FITTINGS

Go To Product
Product Image

B2400-B97

Valve, .25 NPT, Assy Cartridge Slide Pin With Remote Reset With Fittings

Go To Product


Alkon Family Logo Allen Air Logo Star Pydraulics & Pneumatics Logo Airman Logo
AIRman Products | 6150 Whitmore Lake Road, Brighton, MI 48116
Contact Us | Privacy Policies | Terms of Sale © AIRman Products